Betonimuurit ja -tukimuurit
- Päivitetty: 10.3.2023
- Julkaistu: 19.8.2016
Betonirakenteiset tukimuurit ja muurit ovat näyttäviä ympäristörakenteita, jotka suunnitellaan paikkaan huolellisesti. Muurirakenteen tulee sopia maastonmuotoihin ja paikan arkkitehtuuriin. Katu- ja puistoalueilla suositaan luonnonkivisiä tukimuureja tai luonnonkivellä verhoiltuja muureja. Katu- ja liikennealueilla käytetään useammin kokonaan betonisia tukimuureja.
Tukimuurit perustetaan rakenne- ja geoteknisten suunnitelma-asiakirjojen mukaan.

Kuvat: Betoni-lehti. Paikalla valettuja muureja.
Sisältö
PAIKALLA VALELTTAVAT MUURIT JA TUKIMUURIT
Pintakäsittelytavat ennen betonin kovettumista:
- harjaus
- pesu
- telaus
- töpöttely
- hierto
- graafinen betoni
Pintakäsittelytavat betonin kovetuttua:
- muotin mukainen kuviointi
- hiekkapuhallus
- happopesu
- hakkaus- ja murtokäsittely
- lohkominen
- hionta
Betonipinta voidaan värjätä pigmenteillä väribetoniksi. Betonimuurin valuun tai jälkeenpäin muurin pintaan voidaan kiinnittää koristekiviä, kuten liuskekiviä ja graniittilaattoja. Betonipintojen rappauskäsittelyjä ovat yleensä roiskerappaus tai harjattu rappaus. Betonimuurin maalaukseen sopivat vettä läpäisevät epäorgaaniset pintakäsittelyaineet, kuten sementtipinnoitteet, sementtimaalit ja silikaattimaalit.
Betonimuurin yläpinta muotoillaan vettä poisjohtavaksi. Se voidaan myös kattaa. Kate muotoillaan kaltevaksi. Katteen tulee olla muurin pinnasta 20…40 mm ulkoneva, jotta vesi ei valu muurin pintaa pitkin. Kate katkaistaan liikuntasaumojen kohdalla. Katteeksi sopii betoni, tiili, luonnonkivi, keraaminen laatta, pelti tai puu.
BETONISET MUURIKIVET
Pintakäsittelytavat:
Muurikivien pinta voi olla lohkottu, sileä tai patinoitu. Värivalikoima on laaja ja jatkuvasti täydentyvä. Suorien ja suorakulmaisten muurien rakentamiseen soveltuvien kivien lisäksi on tarjolla muurikiviä, jotka soveltuvat kaareviin muotoihin.
Yleensä muurikivet ladotaan limittäin, mutta ne voidaan muurata myös betonilaastilla. Kansikivellä viimeistellään muuri huolitellun näköiseksi. Kansikivi kannattaa kiinnittää liimaamalla kansikivien irtoamisen tai ilkivallan estämiseksi. Päätykivillä viimeistellään muurin pystysuorat päät tai useamman kerroksen korkuiset porrastukset muurin yläpinnassa. Muuriin on mahdollista liittää valaisimet.
BETONIMUURIN VERHOILUMATERIAALIT:
Klinkkerilaatat, tiililaatat, luonnonkivet, metalliohutlevyt ja puu.
Klinkkeri- tai tiililaatoitus: Betonimuuri laatoitetaan säänkestävillä ulkokäyttöön tarkoitetuilla laatoilla. Kiinnitys tehdään säänkestävällä laastilla. Laatoitus katkaistaan liikuntasauman kohdalla.
Luonnonkiviverhous: Sahaamalla valmistetut graniittilaatat tms. kiinnitetään mekaanisilla ruostumattomilla tai kuumasinkityillä kiinnikkeillä. Saumat kitataan elastisella säänkestävällä polyuretaanisaumausmassalla. Muurin luonnonkiviverhousta tehtäessä noudatetaan julkisivuverhouksen periaatteita. Kivilaatat kiinnitetään muuriin ruostumattomilla kiinnikkeillä. Paikalla tehdyn verhouksen taustan tulee olla tuulettuva.
Saumaus: Mekaanisesti kiinnitetyillä verhoilukivillä käytetään 8-10 mm saumaa, joka saumataan elastisella sauma-aineella.
Valmislaattojen kivikokoja: Harkkokivien vakiokorkeudet ovat 150, 200, 300, 400 ja 500 mm. Harkkokiven paksuus on 125 mm tai korkeammissa harkkokivissä 200 mm. Kiven pituus on vapaa. Roomalainen kiviverhous tehdään eri kokoisista suorakaiteen ja neliön muotoisista kivistä. Vakiokivikoot ovat 200×200 mm, 200 x 300 mm, 200 x 400 mm ja 300 x3 00 mm ja paksuus on 125 mm. Lohkoverhouskivi sopii yhdeltä puolelta näkyvän tukimuurin verhoukseen. Lohkokivien näkyvän julkisivun korkeudet ovat 80, 100, 120 ja 150 mm, toleranssi on +/-15 mm. Yleisiä korkeuksia ovat 300, 400 ja 500 mm. Verhouskivien pituus vaihtelee.
Vehoustuotteiden pintakäsittelytavat: lohkottu tai poltettu.
Alle 800 mm korkeat tukimuurit:
Rakenne- ja geoteknisten suunnitelma-asiakirjojen mukaan. Tukimuurit tehdään tiivistetyn 100…300 mm paksun murskekerroksen päälle, jonka raekoko on 0…35 mm. Betonikivitukimuurin korkeus ilman maastoon ankkurointia on yleensä alle metrin. Tukimuurin taaksepäin kallistaminen mahdollistaa hieman korkeampien muurien teon.
800…1600 mm korkeat tukimuurit:
Korkeissa tukimuureissa murskekerroksen paksuus on vähintään 300 mm. Kantavalla maapohjalla sijaitsevat tukimuurit perustetaan teräsbetonianturan päälle. Korkeissa tukimuureissa tulee huolehtia myös putoamissuojauksesta. L-tukimuuri- ja suurtukimuurielementit, joissa on jalka, eristetään roudaneristeillä tai massanvaihdolla.
Muurin taustatäyttöön asennetaan salaoja, joka johtaa vedet esimerkiksi sadevesiviemäriin tai muualle maastoon. Salaojitus tehdään silloin, kun muurin taustalla olevasta maapohjasta virtaa pohjavettä, muurin taustalla ja alla on kallio tai vettä läpäisemätön maakerros.
Tukimuuri suojataan kasvien juurilta muurin taakse asennettavalla juurimatolla.
Kuvat

Kuvat: Rudus. Vasemmalla mataliin muureihin ja reunuksiin soveltuva Rusikko. Istuinpinnaksi tarkoitettu puuosa on painekyllästettyä terassilautaa. Oikealla Antikko muurikivestä rakennetun muurin julkisivuun tuo eloa profiloitu, epätasainen pinta. Antikon suositeltu maksimikorkeus on 70 cm.

Kuva: Rudus. Korkea Paasikko muuri, roomalainen ladonta. Päädyissä ja kulmissa käytetään kulmakiveä. Muuri viimeistellään kansikivellä.

Kuva: RT 89-11175 Infra 25-710137. Muurit ja tukimuurit; © Rakennustietosäätiö RTS sr 2015.
Vasemmalla matala elementtitukimuuri (L-tukimuuri), oikealla porrastetut tukimuurit.

Kuva: RT 89-11175 Infra 25-710137. Muurit ja tukimuurit; © Rakennustietosäätiö RTS sr 2015.
Vasemmalla korkea elementtitukimuuri (suurtukimuuri), oikealla verhottu elementtitukimuuri.

Kuva: RT 89-11175 Infra 25-710137. Muurit ja tukimuurit; © Rakennustietosäätiö RTS sr 2015.
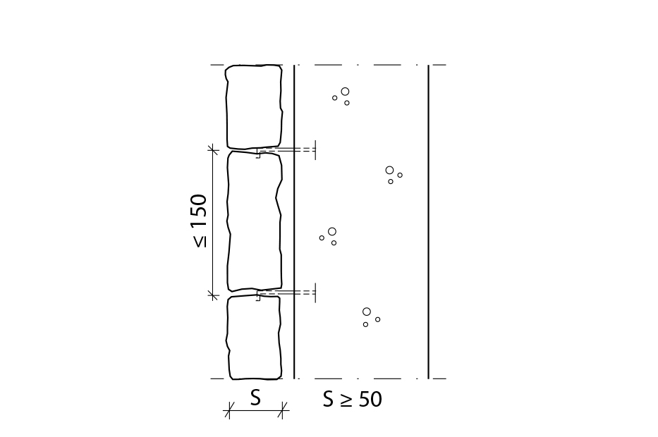
Rakennepoikkileikkauksia luonnonkiviverhousmuureista.
Vasemmalla: Muurin runkona on teräsbetonirakenne, johon luonnonkiviverhous sidotaan teräksillä.
Oikealla: Betonielementtirakenteinen muuri, jossa kivilaatat on asennettu elementtivaluun.

Kuva: RT 89-11175 Infra 25-710137. Muurit ja tukimuurit; © Rakennustietosäätiö RTS sr 2015.
Rakennepoikkileikkaus luonnonkiviverhouksesta. Luonnonkiviverhous kiinnitetään verhottavaan rakennusosaan ja verhouskivet toisiinsa kiinnikkeillä, kannattimilla tms. Verhous on tällöin yleensä tasapaksu.

Kuva: Liuskemestarit. Oriveden musta liuskekivi on vapaamuotoinen luonnonkivilaatta. Kiven musta ja kimalteleva väri sopii hyvin suomalaiseen maisemaan.
Lisätiedot ja -lähteet
InfaRyl 22140 Muurit.
RT 89-11175 Infra 25-710137. Muurit ja tukimuurit; © Rakennustietosäätiö RTS sr 2015.
RT 82-10657 Julkisivun betonipinnat. Rakennustietosäätiö.
RT 34-10997 Keraamiset laatat. Rakennustietosäätiö.
RT 34-10763 Keraamiset laatat, laatoitukset. Rakennustietosäätiö.
Pystypintojen luonnonkiviverhoilut. Rudus, Juuso Rainio 2017.
Graniitti muurit, verhoukset, portaat, pollarit, reunukset. Rudus.
Julkisivut ja muurit. Liuskemestarit.